567彩票网新乡市康达水处理阀门厂
联 系 人:赵先生
咨询电话:13069356646
567彩票网公司地址:河南省新乡市获嘉县亢村镇工业园区阀门新城南3号
工作原理
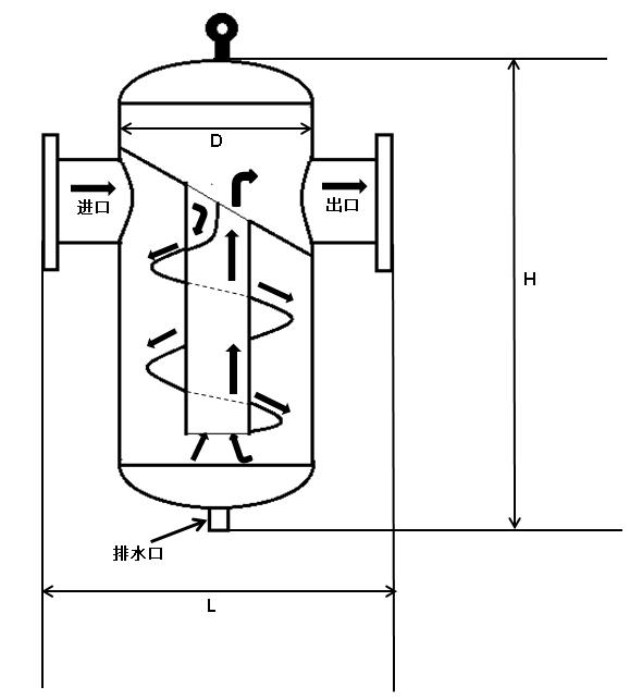
汽水分离器汽由进气管进入旋流筒时,气流将由直线运动变为圆周运动,旋转气流的绝大部分沿筒壁自筒体呈螺旋形向下,朝锥体流动,此为外旋流。蒸汽在旋转的过程中产生离心力,将空度较大的液滴用向筒壁,液滴与筒壁接触,便失去惯性力而靠入口速度的动量和向下的重力沿壁面下落,进入底流口。旋转下降的外旋气流在到达锥体时,因为锥的收缩结构而向旋流筒中心靠拢。根据“转距”不变原理,其切向速度不断提高当气流到达锥体下端某一位置时,即以同样的旋转方向从旋流筒中部由下反转向上,继续做螺旋运动,形成内旋气流。干度较高的汽就由溢流口排出旋流筒。
产品概述
567彩票网 虽然分离器的设计多种多样,但它们的目的都是除去不能通过疏水阀排掉的悬浮在蒸汽中的水分。一般用于蒸汽系统中的分离器有三种形式。
挡板型-挡板或折板式分离器由很多挡板构成,流体在分离器内多次改变流动方向,由于悬浮的水滴有较大的质量和惯性,当遇到挡板流动方向改变时,干汽可以统过挡板继续向前,而水就会积聚在挡板上,分离器有很大的通流面积,减少了水滴的动能,大部分都会凝聚,最后落到分离器的底部,通过疏水排出。 汽旋型-汽旋或离心型分离器使用了一连串肋片以便产生高速气旋,在分离器内高速旋转流动的蒸汽。
567彩票网 吸附型-吸附型分离器内部的蒸汽通道上有一个阻碍物,一般是一个金属网垫,悬浮的水滴遇到它后被吸附,水滴大到一定程度后,由于重力作用落到分离器底部。结合汽旋和吸附两种形式的分高器也很常见,由于结合了这两种方法整个分离效率会有所提高挡板式、汽旋式和吸附式分离器的主要不同是,挡板式分离器在较大的流速范国内可以保持很高的分离效率,而汽旋式和吸附式分离器的分离效率只有在蒸汽速度13m/s以下オ能达到98%,否则效率会很低,蒸汽速度为25时,其分离效率大概仅为50%。
567彩票网 研究表明,挡板式分离器在10m/s到30m/s的流速之间分离效率可接近100%,所以说如果有较大的速度波动,挡板式分离器用于蒸汽系统更为合适,祝且如果管道选小,湿蒸汽的速度可超过30m/s。解快这一回題的方法之一是增大分离器的口径以及分离器上游管道口径,以减小进入分离器的汽流速。
图纸尺寸

| 规格型号 | D | L | H | 排水口 |
| DN65 | 219 | 420 | 640 | DN20 |
| DN80 | 273 | 525 | 735 | DN20 |
| DN100 | 325 | 575 | 795 | DN20 |
| DN125 | 377 | 656 | 845 | DN20 |
| DN150 | 426 | 706 | 935 | DN20 |
| DN200 | 478 | 628 | 1200 | DN50 |
| DN250 | 529 | 680 | 1600 | DN50 |
| DN300 | 630 | 780 | 1700 | DN50 |
以上仅供参考
安装说明

装置要正确安装,并要有资质的操作工按照操作指南进行调试和维护,才能使其安全运行。要正确使用工具和安全措施。安装汽水分离器必须安装于水平管线上,排水口垂直向下,为确保被分离的液体迅速排放,应在汽水分离器底部的排水口连接合适的一套疏水阀组合。
1、隔离:安装维修时不关闭隔离阀将对系统的部件造成损害,对人体造成伤害,危险还包括指:关闭了保护装置和和通气道或者报系统。确保隔离阀关闭,避免系统的冲击。
2、压力:维护修理前要考虑到管道中是否有介质,在对产品进行維修前确保压力介质已被隔离并且安全气道已通向大气,这通过安装排空阀便容易解决。即使压力表指示为零也不要认为系统以排空。
3、温度关闭隔离阀后要有一段时间使操作部位温度接近常温,避免烫伤。保护外套是必须的。
4、处置:产品可再循环。处理得当不会引起生态问题
本文网址: http://szyuetu.com/qsflq/102.html
营业执照